Nový patent pomůže Teslám odstranit jeden z jejich největších nedostatků!
Automobily Tesla jsou po všech stránkách téměř bezchybné vozy. Ovšem s jednou vadou se potýkají v podstatě od začátku produkce. Nový patent by však měl tento problém vyřešit jednou pro vždy k velké spokojenosti všech zákazníků.
Kde má Tesla mezery?
Jak všichni víme, vozy značky Tesla nejsou zrovna levnou záležitostí, a tak člověk za takovou částku očekává jen to nejlepší a nejkvalitnější. To vozy Tesla samozřejmě nabízejí, ať už po bezpečnostní, jízdní i technické stránce. Ovšem jedna věc přeci jen leží zákazníkům v žaludku a tou jsou velké mezery mezi jednotlivými díly karoserie vozů, což je bohužel problém týkající se všech modelů značky Tesla.

Tato vcelku banální nepříjemnost logicky vadí velkému množství zákazníků, protože se jedná o vadu kosmetickou, která je patrná leckdy na první pohled. Proto si společnost nechala patentovat nový „zaklapávací“ systém, který by měl problémy s mezerami vyřešit.
Nový patent
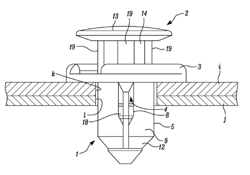
„U automobilů je žádoucí umožnit jednomu či více dílů možnost pohybu v určitém rozsahu. Například připojení prostoru předního kufru elektromobilu k blatníku nebo jinému dílu karoserie vyžaduje určitou míru volnosti umožňující dílům vzájemně se pohybovat proti sobě a od sebe. Tradiční typy svorek tak nejsou vhodné.“ Můžeme se dočíst u textu doprovázející patentové návrhy.
Nový patentovaný systém nabízí upínání, díky kterému je možné nastavit prostor mezi jednotlivými díly karoserie. Podle automobilky nový systém umožňuje větší vůli pohybu mezi jednotlivými díly při zachování pevného uchycení dílu k rámu vozu.
Zde si můžete prohlédnout několik technických nákresů nově patentovaného systému:
Tesla na problému pracuje již delší dobu
V současné době není známo, zda Tesla již tuto technologii začala používat nebo to má prozatím v plánu. Ovšem poslední Modely 3 trpí neduhem širokých mezer v karoserii jen výjimečně a to i přesto, že u prvních vyráběných kusů se jednalo o běžný problém. Majitelé vozů Tesla často sdíleli na sociálních sítích jejich ošklivé a nevzhledné mezery v karoserii, ovšem četnost podobných příspěvků od počátku tohoto roku neustále ubývá.
V dubnu navíc Tesla uvedla, že se průměrná šíře mezery u Modelů 3 zmenšila o 40%:
„Od loňského roku jsme začali dodávat Model 3, přičemž jsme se zaměřili na ladění procesu dílenského zpracování. Výsledkem je že standardní šíře mezer na celém automobilu se v průměru zlepšila o 40%. Dnes jsou mezery karoserie konkurence schopné vůči modelům od Audi, BMW a Mercedesu. V rámci neustálého zlepšování se je však pokusíme ještě více zmenšit.“
O kvalitě stavby vozu se zmínil Elon Musk i v jednom ze svých e-mailů zaměstnancům společnosti. Do něj napsal, že Model 3 musí být vyroben s takovou přesností a precizností, že pokud nebude šíře mezer odpovídat na konci výrobního procesu specifikacím vozu, jejich měřící páska je chybná. Nechme se tedy překvapit, do jaké míry nově patentovaný systém zaručí, že bude karoserie vozů Tesla naprosto bezchybná.







